本實用新型屬于蝸輪箱技術領域,具體為一種擠壓式蝸輪箱。

背景技術:
蝸輪蝸桿機構常用來傳遞兩交錯軸之間的運動和動力,蝸輪與蝸桿在其中間平面內相當于齒輪與齒條,蝸桿又與螺桿形狀相似。蝸輪箱是用來保護蝸輪與蝸桿的正常嚙合傳動,防止外部環境對蝸輪與蝸桿造成不利影響。
現有的蝸輪箱在裝配使用過程中,一般將蝸輪箱通過底板的安裝孔安裝在室外的底座上,安裝孔采用螺栓與底座固定。底板與底座之間的連接處雖然以加工面相配合,但傳動運動過程產生的震動會導致螺栓松動,致使底板與底座之間存在縫隙,導致外界空氣中的灰塵進入到蝸輪箱內部,加大蝸輪箱內部蝸輪與蝸桿的傳動阻力,使蝸輪與蝸桿的使用壽命縮短。
技術實現要素:
本實用新型的目的在于:為了解決防止外界空氣中的灰塵進入到蝸輪箱內部,加大蝸輪箱內部蝸輪與蝸桿的傳動阻力,使蝸輪與蝸桿的使用壽命縮短的問題,為此,提供一種擠壓式蝸輪箱。
本實用新型采用的技術方案如下:
一種擠壓式蝸輪箱,包括箱體和底板,所述底板連接在箱體的底部四周,所述箱體的外壁兩側設置有傳動軸外擴槽,所述傳動軸外擴槽的外側同軸設置有第一軸孔,所述箱體的頂部遠離傳動軸外擴槽的一側設置有第二軸孔,所述第二軸孔的軸心線與第一軸孔的軸心線垂直設置,所述底板的內部開設有安裝孔,所述底板的底部設置有密封構造。
其中,所述所述密封構造包括密封護邊,所述密封護邊沿底板的外側設置,且與底板形成凹陷槽,所述密封護邊的凹陷槽與底座相匹配,安裝時用于將底座包饒在內部。
其中,所述密封構造還包括密封槽,所述密封槽開設在底板底部的外側,所述密封槽內部在安裝時內部設置有密封圈。
其中,所述密封槽設置為半圓狀、u型槽狀、v型槽狀中的其中一種結構。
其中,所述第一軸孔的外側設置有用于裝配連接的第一連接圈,所述第一連接圈的厚度為5~10毫米,所述第二軸孔的外側設置有用于裝配連接的第二連接圈,所述第二連接圈的厚度為5~10毫米。
其中,所述安裝孔的頂部外側設置有圓環形的加工臺,所述加工臺的厚度為2~3毫米。
綜上所述,由于采用了上述技術方案,本實用新型的有益效果是:
1、本實用新型中,通過在箱體的底板底部設置密封護邊,密封護邊沿底板的外側設置,且與底板形成凹陷槽,密封護邊的凹陷槽與底座相匹配,安裝時用于將底座包饒在內部。箱體通過密封護邊包饒在底座上,能夠將底板與底座之間的縫隙包住,防止外界空氣中的灰塵進入到底板與底座之間的縫隙中。
2、本實用新型中,通過在箱體的底板底部設置密封槽,在密封槽內部在安裝時內部設置有密封圈,增加底板與底座之間的密封性,密封槽設置為半圓狀、u型槽狀、v型槽狀中的其中一種結構,滿足于生產需求,當然也可采用其他形狀,比如波浪彎曲狀結構。
3、本實用新型中,通過在安裝孔的頂部外側設置有圓環形的加工臺,通過對加工臺進行加工車平,在安裝螺栓與墊片時,能夠將底板和底座固定時更加緊密,增強密封性,也減少箱體內部的渦輪蝸桿在傳動時產生的震動對螺栓造成松動。
綜上所述,通過以上密封構造以及加工臺將底板11與底座之間的縫隙進行密封,防止外界空氣中的灰塵進入到蝸輪箱內部,減小蝸輪箱內部蝸輪與蝸桿的傳動阻力,延長蝸輪與蝸桿的使用壽命。
附圖說明
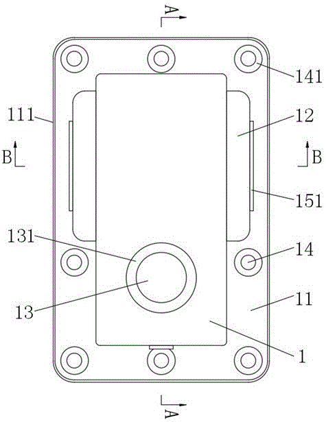
圖1為本實用新型中整體結構俯視圖;
圖2為圖1中a-a截面結構示意圖;
圖3為圖1中b-b截面結構示意圖;
圖4為圖3中c處結構放大圖。
圖中標記:1-箱體;11-底板;111-密封護邊;112-密封槽;12-傳動軸外擴槽;13-第一軸孔;131-第一連接圈;14-安裝孔;141-加工臺;15-第二軸孔;151-第二連接圈。
具體實施方式
為了使本實用新型的目的、技術方案及優點更加清楚明白,以下結合附圖及實施例,對本實用新型進行進一步詳細說明。應當理解,此處所描述的具體實施例僅用以解釋本實用新型,并不用于限定本實用新型。
在本實用新型的描述中,需要說明的是,術語“中心”、“上”、“下”、“左”、“右”、“豎直”、“水平”、“內”、“外”等指示的方位或位置關系為基于附圖所示的方位或位置關系,僅是為了便于描述本實用新型和簡化描述,而不是指示或暗示所指的裝置或元件必須具有特定的方位、以特定的方位構造和操作,因此不能理解為對本實用新型的限制;術語“第一”、“第二”、“第三”僅用于描述目的,而不能理解為指示或暗示相對重要性;此外,除非另有明確的規定和限定,術語“安裝”、“相連”、“連接”應做廣義理解,例如,可以是固定連接,也可以是可拆卸連接,或一體地連接;可以是機械連接,也可以是電連接;可以是直接相連,也可以通過中間媒介間接相連,可以是兩個元件內部的連通。對于本領域的普通技術人員而言,可以具體情況理解上述術語在本實用新型中的具體含義。
參照圖1-4,一種擠壓式蝸輪箱,包括箱體1和底板11,底板11連接在箱體1的底部四周,采用鑄造技術為一體式連接,箱體1的外壁兩側設置有傳動軸外擴槽12,用于加寬內部渦輪的傳動空間,使其傳動時不會受到箱體1內壁的阻礙,當然要是箱體1尺寸足夠大,不需要添加設置傳動軸外擴槽12。傳動軸外擴槽12的外側同軸設置有第一軸孔13,用于安裝主動傳動軸,由主動傳動軸帶動渦輪轉動,一般兩側的第一軸孔13尺寸不同,鑄造實施時一定要注意這點。箱體1的頂部遠離傳動軸外擴槽12的一側設置有第二軸孔15,用于安裝被動傳動軸,由被動傳動軸與蝸桿傳動連接。第二軸孔15的軸心線與第一軸孔13的軸心線垂直設置,構成十字軸向傳動。底板11的內部開設有安裝孔14,用于通過螺栓與底座安裝在一起,底板11的底部設置有密封構造,用于防塵密封住底板11與底座之間的縫隙。
進一步的,密封構造包括密封護邊111,密封護邊111沿底板11的外側設置,且與底板11形成凹陷槽,密封護邊111的凹陷槽與底座相匹配,安裝時用于將底座包饒在內部。箱體1通過密封護邊111包饒在底座上,能夠將底板11與底座之間的縫隙包住,防止外界空氣中的灰塵進入到底板11與底座之間的縫隙中。
進一步的,密封構造還包括密封槽112,密封槽112開設在底板11底部的外側,密封槽112內部在安裝時內部設置有密封圈。密封圈的形狀根據密封槽112的形狀截取填充設置,密封槽112為橡膠密封圈,作為優選的,可在底座的頂部外側開設與其相匹配的溝槽,便于安裝密封圈。
進一步的,密封槽112設置為半圓狀、u型槽狀、v型槽狀中的其中一種結構,滿足于生產需求,當然也可采用其他形狀,比如波浪彎曲狀結構。
進一步的,第一軸孔13的外側設置有用于裝配連接的第一連接圈131,第一連接圈131的厚度為5~10毫米,第二軸孔15的外側設置有用于裝配連接的第二連接圈151,第二連接圈151的厚度為5~10毫米。通過對第一連接圈131和第二連接圈151進行加工,使其增加連接時的密封性。
進一步的,安裝孔14的頂部外側設置有圓環形的加工臺141,加工臺141的厚度為2~3毫米。通過對加工臺141進行加工車平,在安裝螺栓與墊片時,能夠將底板11和底座固定時更加緊密,增強密封性,也減少箱體1內部的渦輪蝸桿在傳動時產生的震動對螺栓造成松動。
本擠壓式渦輪箱在鑄造時,所采用的材質為ht200,增加箱體1的使用耐磨抗震性能,優選采用消失模鑄造技術進行鑄造,其各個部件連接處設置鑄造圓角,特別是箱體1的內腔。作為優選的一種方案,可將內部的圓角設置大點,比如圓角為r20,防止開箱后內腔夾角存在夾砂現象,當然也可以將消失模涂料在箱體1的內部多刷幾次,保持涂料厚度為3至4毫米,能夠增加脫殼,使箱體1的內腔鑄造光滑。
工作原理:在實施安裝時,渦輪與蝸桿安裝在箱體1的內部,將箱體1的底板11與底座通過螺栓安裝在一起,箱體1通過密封護邊111包饒在底座上,能夠將底板11與底座之間的縫隙包住,防止外界空氣中的灰塵進入到底板11與底座之間的縫隙中,也防止渦輪蝸桿在傳動時產生的震動造成底板11移位;通過在底板11底部的密封槽112內部在安裝時內部設置有密封圈,增加底板11與底座之間的密封性;通過對加工臺141進行加工車平,在安裝螺栓與墊片時,能夠將底板11和底座固定時更加緊密,增強密封性,也減少箱體1內部的渦輪蝸桿在傳動時產生的震動對螺栓造成松動。通過以上密封構造將底板11與底座之間的縫隙進行密封,防止外界空氣中的灰塵進入到蝸輪箱內部,減小蝸輪箱內部蝸輪與蝸桿的傳動阻力,延長蝸輪與蝸桿的使用壽命。
以上所述僅為本實用新型的較佳實施例而已,并不用以限制本實用新型,凡在本實用新型的精神和原則之內所作的任何修改、等同替換和改進等,均應包含在本實用新型的保護范圍之內。
技術特征:
1.一種擠壓式蝸輪箱,包括箱體(1)和底板(11),其特征在于:所述底板(11)連接在箱體(1)的底部四周,所述箱體(1)的外壁兩側設置有傳動軸外擴槽(12),所述傳動軸外擴槽(12)的外側同軸設置有第一軸孔(13),所述箱體(1)的頂部遠離傳動軸外擴槽(12)的一側設置有第二軸孔(15),所述第二軸孔(15)的軸心線與第一軸孔(13)的軸心線垂直設置,所述底板(11)的內部開設有安裝孔(14),所述底板(11)的底部設置有密封構造。
2.如權利要求1所述的一種擠壓式蝸輪箱,其特征在于:所述密封構造包括密封護邊(111),所述密封護邊(111)沿底板(11)的外側設置,且與底板(11)形成凹陷槽,所述密封護邊(111)的凹陷槽與底座相匹配,安裝時用于將底座包饒在內部。
3.如權利要求1所述的一種擠壓式蝸輪箱,其特征在于:所述密封構造還包括密封槽(112),所述密封槽(112)開設在底板(11)底部的外側,所述密封槽(112)內部在安裝時內部設置有密封圈。
4.如權利要求3所述的一種擠壓式蝸輪箱,其特征在于:所述密封槽(112)設置為半圓狀、u型槽狀、v型槽狀中的其中一種結構。
5.如權利要求1所述的一種擠壓式蝸輪箱,其特征在于:所述第一軸孔(13)的外側設置有用于裝配連接的第一連接圈(131),所述第一連接圈(131)的厚度為5~10毫米,所述第二軸孔(15)的外側設置有用于裝配連接的第二連接圈(151),所述第二連接圈(151)的厚度為5~10毫米。
6.如權利要求1所述的一種擠壓式蝸輪箱,其特征在于:所述安裝孔(14)的頂部外側設置有圓環形的加工臺(141),所述加工臺(141)的厚度為2~3毫米。
技術總結
本實用新型公開了一種擠壓式蝸輪箱,包括箱體和底板,所述底板連接在箱體的底部四周,所述箱體的外壁兩側設置有傳動軸外擴槽,所述傳動軸外擴槽的外側同軸設置有第一軸孔,所述箱體的頂部遠離傳動軸外擴槽的一側設置有第二軸孔,所述第二軸孔的軸心線與第一軸孔的軸心線垂直設置,所述底板的內部開設有安裝孔,所述底板的底部設置有密封構造,所述密封構造包括密封護邊和密封槽,所述安裝孔的頂部外側設置有圓環形的加工臺。本實用新型中,通過設置密封護邊、密封槽、以及加工臺,能夠密封蝸輪箱箱體安裝時底板與底座之間的縫隙,防止灰塵進入箱體內部,提高箱體以及內部傳動裝置的使用壽命。